

明框玻璃幕墙

型钢骨架
型钢做玻璃幕墙的骨架,玻璃镶嵌在铝合金的框内,然后再将铝合金框与骨架固定。
型钢组合的框架,其网格尺寸可适当加大,但对主要受弯构件,截面不能太小,挠度最大处宜控制在5mm以内。否则将影响铝窗的玻璃安装,也影响幕墙的外观。
铝合金型材骨架
用特殊断面的铝合金型材作为玻璃幕墙的骨架,玻璃镶嵌在骨架的凹槽内。玻璃幕墙的立柱与主体结构之间,用连接板固定。
安装玻璃时,先在立柱的内侧上安铝合金压条,然后将玻璃放入凹槽内,再用密封材料密封。支承玻璃的横梁略有倾斜,目的是排除因密封不严而流入凹槽内的雨水。外侧用一条盖板封住。
测量放线
立柱由于与主体结构锚固,所以位置必须准确,横梁以立柱为依托,在立柱布置完毕后再安装,所以对横梁的弹线可推后进行。
在工作层上放出z、y轴线,用激光经纬仪依次向上定出轴线。再根据各层轴线定出楼板预埋件的中心线,并用经纬仪垂直逐层校核,再定各层连接件的外边线,以便与立柱连接。如果主体结构为钢结构,由于弹性钢结构有一定挠度,故应在低风时测量定位(一般在早8时,风力在1~2级以下时)为宜,且要多测几次,并与原结构轴线复核、调整。
放线结束,必须建立自检、互检与专业人员复验制度,确保万无一失。预埋件位置的偏差与单元式安装相同。
明框玻璃幕墙安装要求
1、幕墙立柱、横梁安装,应符合以下要求:
(1)立柱先与连接件连接,然后连接件再与主体结构埋件连接,应按立柱轴线前后偏差不大于2mm、左右偏差不大于3mm、立柱连接件标高偏差不大于3mm调整、固定。
相邻两根立柱安装标高偏差不大于3mm,同层立柱的最大标高偏差不大于5mm,相邻两根立柱距离偏差不大于2mm。立柱安装就位应及时调整、紧固,临时固定螺栓在紧固后应及时拆除。
(2)横杆(即次龙骨)两端的连接件以及弹性橡胶垫,要求安装牢固,接缝严密,应准确安装在立柱的预定位置。相邻两根横梁的水平标高偏差不大于1mm,同层水平标高偏差:当一幅幕墙宽度≤35m时,不应大于5mm;当一幅幕墙宽度>35m时,不应大于7mm。横梁的水平标高应与立柱的嵌玻璃凹槽一致,其表面高低差不大于1mm。
2、同一楼层横梁应由下而上安装,安装完一层时应及时检查、调整、固定。
(1)玻璃幕墙立柱安装就位、调整后应及时紧固。玻璃幕墙安装的临时螺栓等在构件安装、就位、调整、紧固后应及时拆除。
(2)现场焊接或高强螺栓紧固的构件固定后,应及时进行防锈处理。玻璃幕墙中与铝合金接触的螺栓及金属配件应采用不锈钢或轻金属制品。
(3)不同金属的接触面应采用垫片作隔离处理。
3、玻璃幕墙其他主要附件安装:玻璃幕墙其他主要附件安装应符合下列要求:
(1)有热工要求的幕墙,保温部分宜从内向外安装。当采用内衬板时,四周应套装弹性橡胶密封条,内衬板与构件接缝应严密;内衬板就位后,应进行密封处理。
(2)固定防火保温材料应锚钉牢固,防火保温层应平整,拼接处不应留缝隙。
(3)冷凝水排出管及附件应与水平构件预留孔连接严密,与内衬板出水孔连接处应设橡胶密封条。
(4)其他通气留槽孔及雨水排出口等应按设计施工,不得遗漏。
3.立柱安装
常用的固定办法有两种,一种是将骨架立柱型钢连接件与预埋铁件依弹线位置焊牢;另一种是将立柱型钢连接件与主体结构上的膨胀螺栓锚固。如果在土建施工中安装与土建能统筹考虑,密切配合,则应优先采用预埋件。应该注意:连接件与预埋件连接时,必须保证焊接质量。每条焊缝的长度、高度及焊条型号均须符合焊接规范要求。采用膨胀螺栓时,钻孔应避开钢筋,螺栓埋入深度应能保证满足规定的抗拔能力。连接件一般为型钢,形状随幕墙结构立柱形式变化和埋置部位变化而不同。
连接件安装后,可进行立柱的连接。立柱一般每2层1根,通过紧固件与每层楼板连接,如图1-8所示和图1-9所示。立柱安装完一根,即用水平仪调平、固定。将立柱全部安装完毕,并复验其间距、垂直度后,即可安装横梁。

高层建筑幕墙均有立柱杆件接长的工序,尤其是型铝骨架,必须用连接件穿入薄壁型材中用螺栓拧紧。接长如图1-10和图1-11所示。图中两根立柱用角钢焊成方管连接,并插入立柱空腹中,最后用M12mm×90mm螺栓拧紧。考虑到钢材的伸缩,接头应留有一定的空隙。



4.横梁安装
横梁杆件型材的安装,如果是型钢,可焊接,亦可用螺栓连接。焊接时,因幕墙面积较大,焊点多,要排定一个焊接顺序,防止幕墙骨架的热变形。
固定横梁的另一种办法是,用一穿插件将横梁穿担在穿插件上,然后将横梁两端与穿插担件固定,并保证横梁、立柱间有一个微小间隙便于温度变化伸缩。穿插件用螺栓与立柱固定。

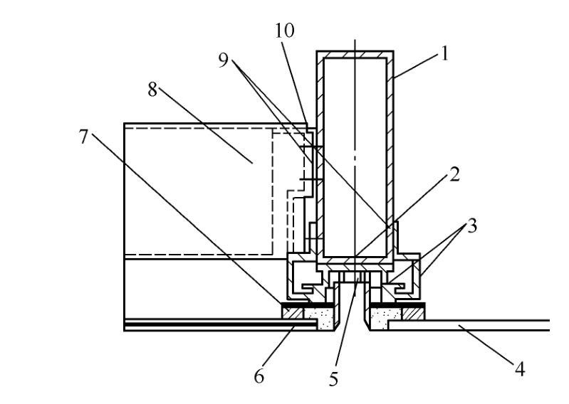
1-立柱;2-聚乙烯泡沫压条;3-铝合金固定玻璃连接件;4-玻璃;5-密封胶;6-结构胶、耐候胶;7-聚乙烯泡沫;8-横梁;9-螺栓、垫圈;10-横梁与立柱连接件
在采用铝合金横立柱型材时,两者间的固定多用角钢或角铝作为连接件。角钢、角铝应各有一肢固定横立柱

如果横梁两端套有防水橡胶垫,则套上胶垫后的长度较横杆位置长度稍有增加(约4mm)。安装时,可用木撑将立柱撑开,装入横梁,拿掉支撑,则将横梁胶垫压缩,这样有较好的防水效果。
5.防火保温做法
由于幕墙与柱、楼板之间产生的空隙对防火、隔声不利,所以,在做室内装饰时,必须在窗台上下部位做内衬墙,内衬墙的构造类似于内隔墙,窗台板以下部位可以先立筋,中间填充矿棉或玻璃棉防火隔热层,后覆铝板隔汽层,再封纸面石膏板,也可以直接砌筑加气混凝土板。
(a)是目前常用的一种处理方法:先用一条L形镀锌铁皮,固定在幕墙的横档上,然后在铁皮上铺放防火材料。用得较多的防火材料有矿棉(岩棉)、超细玻璃棉等。铺放高度应
根据建筑物的防火等级并结合防火材料的耐火性能通过计算后确定。防火材料应干燥,铺放要均匀、整齐,不得漏铺。
(b)是在横档与水平铝框的接触处外侧安上一条铝合金披水板,以排去其上面横档下部的滴水孔下滴的雨水,起封盖与防水的双重作用。
(c)是安设冷凝排水管线。
玻璃幕墙四周与主体结构之间的缝隙,应采用防火的保温材料填塞;内外表面应采用密封胶连续封闭,接缝应严密不漏水。

铝合金装饰压板应符合设计要求,表面应平整,色彩应一致,不得有肉眼可见的变形、波纹和凸凹不平,接缝应均匀严密。
6.玻璃安装
幕墙玻璃安装,由于骨架结构不同的类型,玻璃固定方法也有差异。
型钢骨架,因型钢没有镶嵌玻璃的凹槽,一般要用窗框过渡。可先将玻璃安装在铝合金窗框上,而后再将窗框型与型钢骨架连接。
立柱安装玻璃时,先在内侧安上铝合金压条,然后将玻璃放入凹槽内,再用密封材料密封。

横梁装配玻璃与立柱在构造上不同,横梁支承玻璃的部分呈倾斜,要排除因密封不严流入凹槽内的雨水,外侧须用一条盖板封住。安装构造如图1-16所示。
玻璃幕墙玻璃安装应按下列要求进行:
(1)玻璃安装前应将表面尘土和污物擦拭干净。热反射玻璃安装应将镀膜面朝向室内,非镀膜面朝向室外。
(2)玻璃与构件不得直接接触。玻璃四周与构件凹槽底应保持一定空隙,每块玻璃下部应设不少于2块弹性定位垫块;垫块的宽度与槽口宽度应相同,长度不应小于100mm;玻璃两边嵌入量及空隙应符合设计要求。


(3)玻璃四周橡胶条应按规定型号选用,镶嵌应平整,橡胶条长度宜比边框内槽口长1.5%~2%,其断口应留在四角;斜面断开后应拼成预定的设计角度,并应用胶黏剂黏结牢固后嵌入槽内。
玻璃幕墙安装施工厂家:https//:www.gtg-tx.com